Free Delivery over €99.
Excludes Bulky items
Savers Club
Pay off in increments on any order €100 or over.
Learn more
Humm Finance
From €80 to €15,000
Over 40 years
in Retail, Sales, Parts, Service & More
START YOUR TODAY! JOIN NOW
GO
~~productSavingTitle~~
~~badgeTitle~~
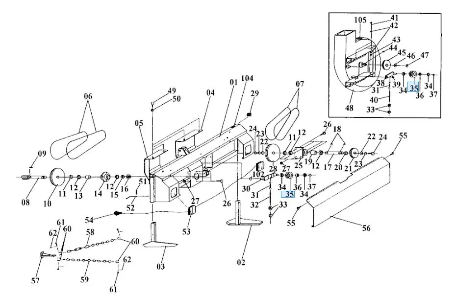
Kubota 00847-00360 Spacer – OEM Main Frame Component for GCD600T

Kubota

Kubota

Kubota 00847-00360 Spacer – OEM Main Frame Component for GCD600T

0 ☆☆☆☆☆ (0)
Read Reviews
19.32
KU-0084700360
Savers Club

Just 3 payments of €6.44.

Simply create an account with us and you will be able to purchase this product by deposit and make future payments through your account. No fees, no fuss.

MORE INFO JOIN NOW

Just 3 payments of €6.44

Choose Savers Club at checkout to pay by deposit. You can then make future payments through your account

ONLINE ONLY
This product is only available online. Not available in-store. Delivery may take up to 7 days.

Wrap my parcel for €3

We will wrap your toy in a plain black wrap so little eyes won't be able to know what's inside.

Include product assembly for €0.00 (+ Extra Delivery €0.00)

This product requires assembly. Check the box to have us assemble it for you.
Free Delivery
on this product
Just €4.95
for Delivery
2-3 Day Delivery
on this product
4-6 Day Delivery
on this product
Bulk Item
€0 delivery surcharge
Click & Collect
only available in store

Hurry! Sale ends soon!

NaN Days
NaN Hours
NaN Minutes
NaN Seconds

Select Quantity:

-+

Product Features


Description

Maintain the integrity of your Kubota equipment with the Kubota 00847-00360 spacer, a genuine OEM component crafted to fit the main frame assembly of the GCD600T model. Designed for exact alignment and structural reliability, this spacer ensures proper fitment and reduces wear by distributing load evenly across connected parts.

Spacers are vital for reducing friction, preventing part misalignment, and ensuring smooth mechanical operation. Built to Kubota’s quality standards, the 00847-00360 spacer is ideal for routine maintenance or part replacement on your machinery.

Key Features:
OEM Certified: Genuine Kubota part ensures reliability and long service life.
Exact Fitment: Tailored for the GCD600T main frame system.
Durable Material: Built to resist compression and environmental wear.
Part Number: 00847-00360
Application: Structural spacer for frame assembly.


Delivery

At Clarkes of Cavan, we are passionate about getting your order to you quickly and safely and we understand it is important for you to know when your order will be delivered.

Delivery Cost & Times

Free delivery on orders over €99 applies in most cases (Ireland), where a product is excluded from this it will be noted on the product page. Some items are large and cannot be sent for free. Standard delivery costs apply to all other countries.

You will be provided with tracking information so you can keep an eye on your order at all times. Delivery of Bulk items (Pallet) may take a day or two extra.

Country   Delivery Time
Ireland   1-2 Business Days
United Kingdom   3-5 Business Days
Austria   5-7 Business Days
Australia   7-10 Business Days
Belgium   5-7 Business Days
Bulgaria   7-10 Business Days
Croatia   7-10 Business Days
Cyprus   7-10 Business Days
Czech Republic   5-7 Business Days
Denmark   5-7 Business Days
Estonia   7-10 Business Days
Finland   7-10 Business Days
France   3-5 Business Days
Germany   3-5 Business Days
Greece   7-10 Business Days
Hungary   5-7 Business Days
Iceland   7-10 Business Days
Italy   5-7 Business Days
Latvia   7-10 Business Days
Lithuania   7-10 Business Days
Luxembourg   5-7 Business Days
Malta   7-10 Business Days
Netherlands   3-5 Business Days
Norway   7-10 Business Days
Poland   5-7 Business Days
Portugal   5-7 Business Days
Romania   7-10 Business Days
Slovakia   5-7 Business Days
Slovenia   7-10 Business Days
Spain   5-7 Business Days
Sweden   7-10 Business Days
Switzerland   7-10 Business Days
United States   10-15 Business Days


Some items we sell will take more time because of size and dispatch location. This will be noted on the product page or on checkout.

Tracking Information

When your order is send you will be provided with tracking information from the relevant courier. This tracking information will be sent to the email provided when on the account registered, or the email used in the checkout process.

Clarkes of Cavan use An Post, UPS, Royal Mail and DSV pallet delivery.

Returns Policy

For full information on our returns policy please visit our refund and returns policy page.

Need Help?

If you still need further assistance regarding your delivery please contact the online department on 049 433 2166 or via email at online@clarkesofcavan.ie

Reviews
0.0
(0 Reviews)
Be the first to review this product!

Maintain the integrity of your Kubota equipment with the Kubota 00847-00360 spacer, a genuine OEM component crafted to fit the main frame assembly of the GCD600T model. Designed for exact alignment and structural reliability, this spacer ensures proper fitment and reduces wear by distributing load evenly across connected parts.

Spacers are vital for reducing friction, preventing part misalignment, and ensuring smooth mechanical operation. Built to Kubota’s quality standards, the 00847-00360 spacer is ideal for routine maintenance or part replacement on your machinery.

Key Features:
OEM Certified: Genuine Kubota part ensures reliability and long service life.
Exact Fitment: Tailored for the GCD600T main frame system.
Durable Material: Built to resist compression and environmental wear.
Part Number: 00847-00360
Application: Structural spacer for frame assembly.


At Clarkes of Cavan, we are passionate about getting your order to you quickly and safely and we understand it is important for you to know when your order will be delivered.

Delivery Cost & Times

Free delivery on orders over €99 applies in most cases (Ireland), where a product is excluded from this it will be noted on the product page. Some items are large and cannot be sent for free. Standard delivery costs apply to all other countries.

You will be provided with tracking information so you can keep an eye on your order at all times. Delivery of Bulk items (Pallet) may take a day or two extra.

Country   Delivery Time
Ireland   1-2 Business Days
United Kingdom   3-5 Business Days
Austria   5-7 Business Days
Australia   7-10 Business Days
Belgium   5-7 Business Days
Bulgaria   7-10 Business Days
Croatia   7-10 Business Days
Cyprus   7-10 Business Days
Czech Republic   5-7 Business Days
Denmark   5-7 Business Days
Estonia   7-10 Business Days
Finland   7-10 Business Days
France   3-5 Business Days
Germany   3-5 Business Days
Greece   7-10 Business Days
Hungary   5-7 Business Days
Iceland   7-10 Business Days
Italy   5-7 Business Days
Latvia   7-10 Business Days
Lithuania   7-10 Business Days
Luxembourg   5-7 Business Days
Malta   7-10 Business Days
Netherlands   3-5 Business Days
Norway   7-10 Business Days
Poland   5-7 Business Days
Portugal   5-7 Business Days
Romania   7-10 Business Days
Slovakia   5-7 Business Days
Slovenia   7-10 Business Days
Spain   5-7 Business Days
Sweden   7-10 Business Days
Switzerland   7-10 Business Days
United States   10-15 Business Days


Some items we sell will take more time because of size and dispatch location. This will be noted on the product page or on checkout.

Tracking Information

When your order is send you will be provided with tracking information from the relevant courier. This tracking information will be sent to the email provided when on the account registered, or the email used in the checkout process.

Clarkes of Cavan use An Post, UPS, Royal Mail and DSV pallet delivery.

Returns Policy

For full information on our returns policy please visit our refund and returns policy page.

Need Help?

If you still need further assistance regarding your delivery please contact the online department on 049 433 2166 or via email at online@clarkesofcavan.ie

0.0
(0 Reviews)
Be the first to review this product!

Ask About This Item

© 2025 Clarkes of Cavan

website design by dmac media